国产/进口二三类医疗器械产品注册整体流程图
来源:医疗器械注册代办 发布日期:2023-10-10 阅读量:次
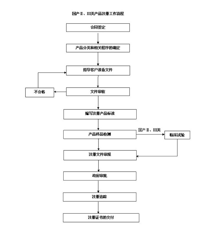
众所周知,医疗器械分为三类,一类采用备案制,二三类采用注册制管理,等级越高,管理越严格。一类医疗器械都是免临床的,因此备案工作比较简单不繁琐。而二三类医疗器械除免临床产品外,绝大多数产品都是需要临床试验的,需临床的产品注册周期也更长。一类医疗器械备案流程和资料准备,可以查看第一类医疗器械(产品备案凭证)代办服务。想了解医疗器械注册整体流程和避坑的,可以看看聊一下医疗器械产品注册流程(从类别鉴定到拿到注册证)。本文分享二三类医疗器械产品注册整体流程,以图片形式展示。

二三类医疗器械依据注册主体在境内外的原因,将医疗器械分为国产医疗器械注册和进口医疗器械注册,两者的注册整体流程自然也不一样。一起看看:
国产二三类医疗器械产品注册整体流程图:

进口二三类医疗器械产品注册整体流程图:

国产二三类医疗器械可以走注册人制度,委托异地生产企业代为生产。进口无法走注册人制度哦,请知悉。如您对看不懂上述流程图,不妨联系我们的客服人员,详细给您讲解。

站点声明
本网站所提供的信息仅供参考之用,并不代表本网赞同其观点,也不代表本网对其真实性负责。图片版权归原作者所有,如有侵权请联系我们,我们立刻删除。如有关于作品内容、版权或其它问题请于作品发表后的30日内与本站联系,本网将迅速给您回应并做相关处理。
郑州思途医疗科技有限公司专注于医疗器械产品政策与法规规事务服务,提供产品注册备案申报代理、临床试验、体系建立辅导、分类界定、申请创新办理服务。
行业资讯
知识分享






豫公网安备 41010202003160号